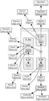
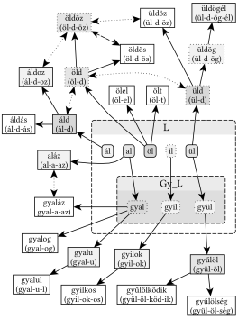
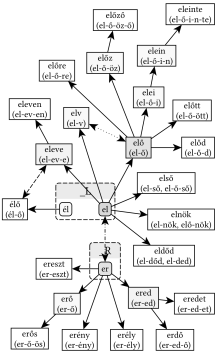
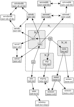
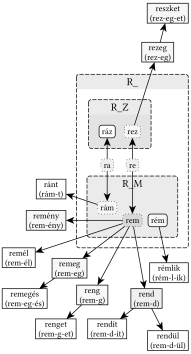
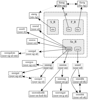
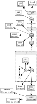
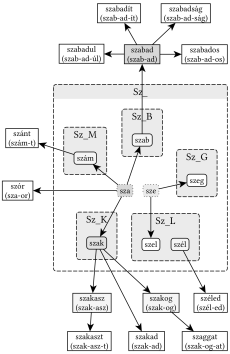
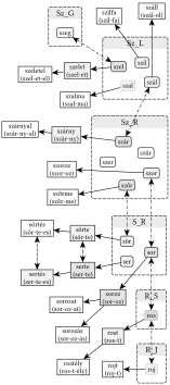
Szóbokrok a CzF alapján
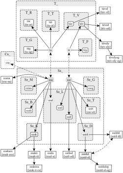
A nyelvi értelmezés szerves rendszere a magyar gyökök alapján
Ahhoz, hogy a lélek felismerje a helyeset, valamilyen módon valóban emlékeznie kell annak fogalmára. A változó fogalmak ugyanis nem változtatják meg azokat a bennünk megfogalmazódó szellemi valóságokat, amiket azok jelölnek. A helytelen elnevezések az ismeretek kialakulását befolyásolják, mivel a jelentésátvitel csak a reális hasonlóság mentén helyes.
Már Platón is kutatta a Kratüloszban a közmegegyezés és a dolgok elnevezései közötti kapcsolatot, mert tapasztalta, hogy a lényegre vonatkozó fogalmi változások hatása a tanítás során az értelem működését befolyásolja. Platón nyelvfilozófiai dialógusában valójában etimologizál, ami az ókori értelmezés szerint igaz számadást jelent. A nevek helyessége elméletének vizsgálatakor azt kutatja, hogy van-e a hangoknak maguknak eredeti, eleve adott jelentésük, mely alapját képezheti a szótagoknak és a szavak (mint elnevezések) jelentésadásának. Feltevése abból indult ki, hogy a dolgok nevei kódolt leírások, melyek kikutatása elvezet a dolgok valódi természetének feltárásához. (Long, A hellenisztikus filozófusok, 244)
Platón ugyanis azt feltételezi, hogy nem egyedül a közmegegyezés képezi az egyes szavak jelentésének alapját, mely minden időkben változhat, ezért – úgy véli – eredeti, biztos jelentésüknek kell lenniük. „Te boldog ember, hát nem tudod, hogy már az első neveket, alighogy elkészültek, máris tönkretették azok, akik nagyszerűekké akarták tenni ezeket, és a jóhangzás kedvéért betűket raktak bele, vagy kivettek belőle részben azért, hogy szépítgessék, részben meg egyszerűen csak az idő hatása alatt. Vagy nem tartod talán értelmetlennek, hogy a katoptron szóba beleszúrták az r-t? Azt hiszem, hogy ezt olyan emberek csinálják, akik nem törődnek az igazsággal, csak a kiejtést alakítgatják. Így aztán annyi mindent toldozgatnak az első nevekbe, hogy a végén már senki nem érti meg a szó jelentését” (Platón: „Kratülosz”, 414c.)
Platón az elnevezések vizsgálata során hasonló megállapításokat tett, amit ma a nyelvi dizájnerség, valamint a nyelvi transzmisszió jelensége kapcsán tapasztalhatunk. Egyrészt megállapítja, hogy a betűkkel való indokolatlan betoldás és a betűelvétel a szavak értelmét olyan mértékben képes megváltoztatni, hogy azok kis híján néha már az ellenkezőjét jelentik. (Platón: „Kratülosz”, 418b.) Ez pedig azért jelent értékvesztést, mert amikor valamit elnevezünk, akkor közlünk egymással valamit, ami a közlést magát megelőzően mindenképpen az értelemben elgondoltat jelenti. Ebben a tanításban pedig a dolgokat természetük rendje szerint rendezzük, (Platón: „Kratülosz”, 388b.) ám felmerül a kérdés, hogy honnan vesszük a neveket, amivel a dolgokat megnevezzük? A beszéd ugyanis akkor igaz, ha úgy mondja el a dolgokat, ahogyan van, ám az igaz beszédnek egészében és részeiben* is igaznak kell lennie, különben a beszéd nem mondható helyesnek.
Platón a beszédet is cselekvésként értelmezi, melynek saját autonóm természete van, és jogos igény vele szemben az a követelmény, hogy ez a dolgok helyes elnevezésében is megnyilvánuljon. (Platón: „Kratülosz”, 387d.)
* Ide tartoznak a szómódosítások, vagy a szószármaztatások, mert az egyes nyelvi elemekből mind összetettebb fogalmakat alkothatunk. Platón az alapszavak mint elemek tekintetében kereste a helyességet, vagyis azt a lényeget (ουσία) amit a származtatások már elrontanak, mivel nem képes az eredeti lényeget leképezni.

























































